What Is Inside a Zoom
Lens?
Many people are curious about the
internal construction of zoom lenses. Common questions are:
How complicated Is the internal
construction within a zoom lens? How does a zoom lens work? What are the
various optical groups within a zoom lens? How do these various optical
groups function? Do more optical elements mean that the lens will be sharper
than other similar lenses?
Wow! When you think about it, all of
these are really good questions. Trying to answer these questions is far from
simple since there are many types of zoom lens designs. Lets try to answer
these questions by looking at a fairly conventionally designed telephoto zoom
lens. We will use Tamron's SP 70-210 model 19AH as a representative example of
a conventional zoom lens. After all, telephoto zooms were the first types of
zoom lenses which were ever developed and produced by virtually all OEM and
after market lens manufacturers.
Internal
Construction
Virtually every zoom lens, whether it is
30 years old or is a lens which you just purchased, features very complicated
internal construction. Just take a quick look at the CAD cutaway of Tamron's SP
70-210 zoom lens. It is obvious that there are quite a number of both large and
small parts. Zoom lenses generally have over 100 individual parts. If you look
carefully at the CAD drawing, you will notice that a zoom lens necessarily has
numerous threaded retaining rings and spacer rings for the various optical
elements. Just one improperly machined retaining or spacer ring can turn a zoom
lens into an optical lemon by causing either tilt or decentering of one or more
optical lens elements. Suffice it to say that any zoom lens features extremely
complicated internal construction and precise machining of all parts which
support the optics.
Optical Groups Within a
Conventional Zoom Lens
Conventional zoom lenses generally
consist of three specific moving optical groups plus one stationary optical
group. Each optical group usually includes two or more lens elements. Keep in
mind that we are talking about the actual independently moving groups of lens
elements within a zoom lens, and are NOT talking about the basic optical layout
of the lens! Our SP 70-210 model 19AH, for example, optically consists of 15
lens elements in 11 groups. This optical specification means that there are 15
individual lens elements within this zoom lens, and that two or more lens
elements are cemented together to create an overall optical configuration which
is equivalent to 11 lens elements. In the case of the model 19AH example, two
individual pairs of lens elements are cemented together with each cemented pair
behaving as if it were a single lens element. The result is that this lens
consists of 11 optical groups or 22 lens surfaces which need to be coated or
multicoated in order to maintain proper light transmission, color balance, and
to prevent internal reflections or lens flare.
Functions of the Optical Groups
in a Conventional Zoom
The mechanical movement of the optics
within this zoom lens can be broken down into three independently moving groups
of optical elements and one stationary group of optical elements. Some zoom
lenses actually move all four optical groups when the lens is zoomed. These
four optical groups (from front to back) are: the
focus group, the
variator group, the
compensator group, and the
master group.
We have color shaded the CAD drawing to
indicate the internal mechanical housings which hold the optics for each of
these four optical groups. Nearly every zoom lens consists of these four types
of optical groups. So, what do these four optical groups do?
The front or top group of lens elements
is called the
focus group. The focus group moves forward or backward as necessary for
focusing the lens. In a conventional telephoto zoom such as the SP 70-210, this
focus group does not move when the lens is zoomed. It only moves when the
zoom's focus collar is rotated. Some telephoto zooms feature optical designs
wherein the length of the lens increases as the lens is zoomed to its longest
telephoto position. Some examples of lenses which change in length when zooming
are Tamron's SP 60-300 model 23A and SP 35-210 model 26A. The front focus
groups in these lenses move not only when focusing but also when zooming these
lenses.
The
variator group of lens elements, like its name implies, varies the
magnification power of the focus group. The variator group is the moving group
which is mostly responsible for changing the focal length of a zoom lens when
it is zoomed. Note that the variator group alone isn't enough to achieve a true
zoom function and maintain focus. Many readers may recall the varifocal lenses
which were introduced in the late 1970s. These lenses were not true zooms
because the user had to refocus the lens after "zooming".
Something else, optically, has to be used
to maintain proper focus when zooming a true zoom lens. This "something else"
is the
compensator
group of lens elements. True zoom lenses have a compensator group which
moves in the same direction but at a different rate compared to the focus
group. The compensator group's sole purpose is to maintain correct focus
whenever the zoom lens is zoomed. We mentioned that the variator group is
mostly responsible for changing the focal length of a zoom lens when its is
zoomed. The compensator group is also partly responsible for changing the focal
length of the lens when it is zoomed. The variator and compensator groups work
together to create the change in focal length when the lens is zoomed, and the
compensator group also assures that the lens remains in focus while being
zoomed. As mentioned, some zoom lenses also move the focus group when zooming.
In such lenses, all three groups are responsible for creating the change in
focal length when zooming.
You would think that the three
aforementioned lens groups would be enough in order to construct a zoom lens,
but they usually aren't! They would be if we didn't have to deal with the space
which the mirror in a SLR or digital camera occupies, if we didn't care how big
and bulky the zoom lens was, and if we didn't care about off-axis lens
aberrations. Thus virtually all zoom lenses also feature a
master
group of lens elements. The master group serves to relay the variable
magnifications from the other groups to the camera's focal plane. The master
group, aside from relaying the optical path to the camera's focal plane, is
also optically constructed to correct aberrations from the other optical
groups. The master group also serves to make the zoom lens more compact by
allowing the focus group to be positioned closer to the film plane and by
requiring less overall movement of the variator and compensator groups in order
to achieve the inherent zoom range of the lens. The
aperture
diaphragm is almost always located either directly in front of or within
this master group of optical elements. The aperture diaphragm in our SP 70-210
example is located directly in front of the master group.
Functions of the Optical Groups
in an Unconventional Zoom
Some zoom lenses, particularly very wide
angle to moderate telephoto zooms, actually move all four optical groups as the
lens is zoomed. Such zoom lenses break all design rules for conventional zoom
lenses because even the normally stationary focus and master lens groups and
the aperture diaphragm move when zooming. Thus every optical group in these
complex lenses is part of the overall zooming function, and each optical group
may perform more than one individual function. The focus group, for example,
not only is used for focusing but also may move at varying rates when zooming
to also function as either a variator or compensator group. Likewise the
rearmost master lens group may move when zooming to function as a variator or
compensator group. Many modern zoom lenses feature internal focusing. The front
optical group in these lenses no longer is the focus group as would be the case
for a conventional zoom lens. Just how complicated are the movements within
these advanced zoom lenses? Have a look at the following diagram which is taken
from one of Tamron's patents:
 |
You will note in the above illustration
that all four groups of optical elements move when this lens is zoomed. You
will also note that the second group G2 is used for focusing rather than the
first or front group G1. Thus this lens also features internal focusing. This
lens also features an aperture diaphragm (STP in the above illustration) which
moves in concert with the third group G3. Also note that groups G3 and G4 move
at almost the same rate. Thus they can be thought of as the master group but
with a slight built-in zooming effect to act as a mild compensator group.
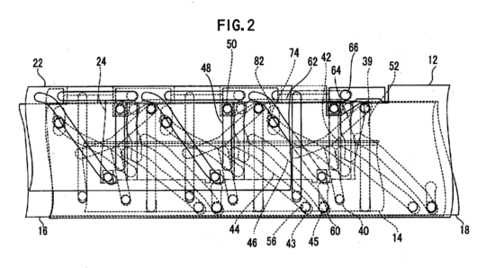
Zoom Lens Mechanics
You have to be wondering just how
complicated are the internal mechanics within a zoom lens. The answer quite
simply is that zoom lenses feature complicated to extremely complex internal
construction. The zoom's mechanics not only must move the various optical
groups with the correct rates of movement, but also must do this precisely
while also maintaining optical alignment of the optical elements. Shown below
is an illustration of the variety of parts and nested sleeves which are
required in a modern wide angle to telephoto zoom. We have colored the four
optical groups yellow for clarity.
 |
The movement of the various optical
groups is accomplished via a series of nested barrels or sleeves. These sleeves
feature machined cam-slots and cam-followers. In zoom lenses, some sleeves
remain stationary while others rotate or move back and forth. The operation of
these sleeves can get really complicated. Just have a look at the following
illustration which shows several sleeves along with the multitude of necessary
cam-slots and cam-followers for moving the various optical groups:
Total Number of Optical
Elements
Many photographers assume that more
optical elements means that the lens will be sharper. This rarely is the case.
Optical engineers have a variety of options available to them for optimizing
lens designs. Some options are rare earth optical glasses which feature high
refractive indices, low dispersion (LD) glasses which minimize chromatic
aberration and lateral color, anomalous dispersion glasses which feature
compressed and uneven dispersion of colors, and finally composite aspherical
lens elements. A good optical engineer or design team can combine, as
necessary, some or all of these options to create a lens with extremely good
performance while using fewer lens elements.
### |